
TCL Celebrates 25 Years of Timeless Greatness with Innovative Product Launches
TCL Electronics recently marked its 25th anniversary with an elegant celebration at

TCL Electronics recently marked its 25th anniversary with an elegant celebration at

Samsung announced that the official rollout of One UI 7 will start

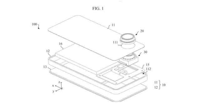
According to a United States Patent and Trademark Office (USPTO) patent listing,

The wait is finally over! After months of anticipation and seeing it

Maya x Julia Barretto Digital bank Maya is partnering with actress Julia

The HONOR Magic7 Pro is set to officially arrive in the Philippines

The ASUS ROG Flow Z13 2022 was crowned as the fastest convertible

KPOP Girl Group LE SSERAFIM recently teased that the “Come Over” music

The HONOR ALPHA PLAN is the brand’s strategy to transition into a leading AI device ecosystem company.

Introduction The OnePlus 13R represents the brand’s continued commitment to offering high-performance

OnePlus introduced the OnePlus 13 in China in December 2024, and it

Enter, realme 14 Pro+ 5G The realme 14 Pro+ 5G arrives with
Google has officially taken the wraps off the Pixel 9a, the latest

Huawei has partnered with Manila Padel Club (MPC) to bring advanced fitness

A Hungarian retailer leaked images of the HONOR 400 Lite ahead of
Google is expected to launch the Pixel 9a in the coming weeks.

Niantic, the company known for popular augmented reality (AR) games like Pokémon
